Csomók

2014.01.23 16:26

Ezeket a csomókat kell tudni:

    -Egyszerű kettős

      Nem szabad összetéveszteni a kofacsomóval!!!

 

    -Szorító nyolocas

     

    -Keresztkötés

    Hamarosan felkerül róla egy videó.

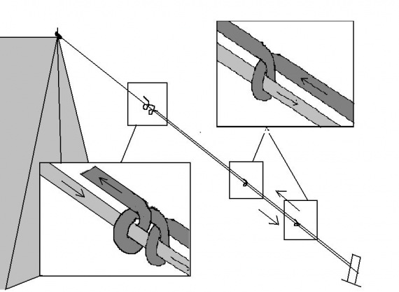
    -Sátorfeszítő csomó

   

    -Zsinegfeltekerés

   

    -Csúszóhurok

   

Programok

Őrsi: 
- február 13-14. Táborhelynézés
 
Raji:
- sütögetés + iszogatás?
 
Csapat:
-február 6. csapatfarsang
-március 19-21.csapatportya
-május 15. Csapatnap
-július 10-19. Csapattábor
 

Linkek

MCSSZ

I.cserkészkerület

Plébánia

Csapathonlap

Elérhetőség

Puma Őrs Őrsgyűlés:
Szerda: 19:00-21:00
a plébánián (Dózsa György út 80.)
pumaors@gmail.com